You've probably already seen articles on Specialized's Under Bottom Bracket patent application, but what they don't tell you is that this could actually be the layout for the next Kenevo SL e-bike.
There’s been a lot of excitement about Specialized’s Under Bottom Bracket patent application online. And, while the focus of most articles and pundits has been on the possibility of a new 172mm travel Enduro platform sporting UBB, buried deep in the confusing legalese are two new suspension layouts that could point to the direction of the next generation Specialized Turbo Kenevo SL. With rumours of EDR enduro racing fading out in 2025, and electrified enduro racing taking its place, could this actually be the future application for Specialized’s much-hyped new layout? Here’s what we think…
Why not use UBB for the Turbo Kenevo SL?
At risk of stating the obvious, we can’t see how Specialized could employ its UBB design, as the links that drive the shock and control the leverage rate would have to pass straight through the motor or battery of the Kenevo SL. But as stated in the patent application, Specialized clearly feels that it’s “desirable to split the driving of the shock from the kinematics of the movement of the rear wheel”, and the alternative configurations would enable it to do just that.

A possible new Enduro with UBB from Specialized’s recent patent application
How are these potential designs different from the current Kenevo SL?
Let’s take a closer look at the existing Kenevo SL. It shares a similar frame layout to the current Enduro, but there are subtle differences in the links that actuate the shock. Both designs use a scissor-style linkage that connects the upper suspension link to the shock, and the shock to the frame.

Specialized’s current Turbo Kenevo SL is nearly three years old – ripe for a refresh?
On the Kenevo SL the lower shock link does not share the same mounting location on the frame as the main pivot – which it does on the Enduro – because the motor is in the way. As a result, the lower link on the Kenevo SL is also much flatter, so the angle between the shock and the link is more acute. In real terms, this means the overall leverage rate is more progressive initially, then linear for the final third of the travel.
What advantages do the alternative layouts in the patent application offer?
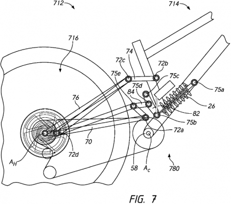
Just like the UBB layout, the linkage arrangements in what we’ll call the Over Bottom Bracket (OBB) designs (see figures 7 & 8), separates the links that drive the shock, from the 4-bar linkage (that determines the axle path). So, not only does the new OBB arrangements give Specialized more freedom to manipulate the leverage rate curve to its liking, it can do so independently of the kinematics that determine anti-squat and anti-rise. Which is pretty smart, right?

Another potential suspension layout for the Turbo Kenevo SL, this time with an idler.
Are there any other advantages of the new layouts?
Yes. There are a couple of obvious ones, like moving the links that drive the shock lower in the frame will reduce the centre of gravity of the frame by a hair. But just a hair. Also, by removing the forces associated with driving the shock from the upper linkage assembly, the seatstays, upper link, and any associated bearings and hardware could be made substantially lighter. The patent application also indicates that there’s an outside possibility that Specialized could even offer adjustable anti-rise, much in the same way it currently offers geometry adjustment, without negatively affecting other aspects of the suspension layout.

Specialized UBB patent indicates five potential layouts with different anti-rise.
What about disadvantages?
More links mean more bearings and more weight. And with increased complexity, often comes more maintenance. That said, if Specialized can improve the overall suspension performance of the Turbo Kenevo SL, we’d see that as a big win, as it’s one thing we criticised when we reviewed the S-Works Turbo Kenevo SL
When are we likely to see a new Turbo Kenevo SL?
Most brands work on a three-year model lifecycle, but given the rapid development of e-bike tech and that Specialized tends to set its own rules, there’s every chance that a new version of the Kenevo SL will land in 2024. The Specialized Turbo Levo SL got a refresh last year, so the Kenevo SL already lags behind in terms of power and torque, and given that the 170mm travel Kenevo SL fits neatly into Specialized’s gravity camp, along with the Enduro and Demo, we’d be very surprised if it did not share some of the new design concepts outlined in the patent application.